家用電器安全檢測類系列
站立兒童足形試具
產品特點:
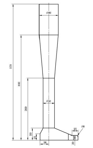
GB/T 4706.110-2021標準圖107站立兒童足形試具
產品說明
該產品依據GB/T4706.110-2021(IEC60335-2-107:2017)家用和類似用途電器的安全第2部分由電池供電的智能草坪割草機的專用要求 中20.102.4.1.2中條款的要求,EN50636-2-107:2018 Figure102 Foot Probe Test,圖107足形試具應沿著機器外部機殼插向切割器件,在任何高度上,試具的底部呈水平,然后再從水平方向上前傾或后傾最大不超過15度,試具沿著整個機器外圍施加水平力直至最大20N,或者到機器外殼從其原始位置抬起或移開,或直到接觸切割器件軌跡,以最先發生為準。試具不應進入切割組件的軌跡。





GB4706電源線拉扭力試...
紫外線耐候實驗箱(8支...
紫外線耐候試驗箱(8支...
戶外電氣設備砂塵試驗...
GB4706家用電器鹽霧試...
GB4706 家用電器IPX34...
GB4706.15頭盔式干發...
LCX-338燈頭扭力測試...
GB/T 4706.110-2021標...
GB/T 4706.110-2021標...
冰箱溢水試驗裝置...
GB4706.65圖103足形探...
伺服全自插拔力試驗機...
QQ咨詢
0755-23702756
微信公眾號